Centurion Patentors as of October 14, 2025

Francois Hebert
VP/CTO Power, AIM SBU (Automotive, Industrial, Multi-Market Strategic Business Unit) at GLOBALFOUNDRIES.
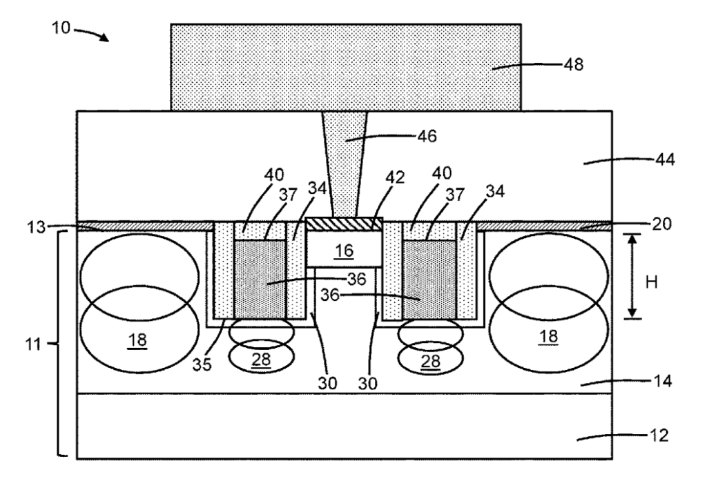
Patent №: 12446270 – Junction field-effect transistors implemented in a wide bandgap semiconductor material.

Structures and methods for forming a junction field-effect transistor with a trench gate, doped source region, and dielectric layer positioned between defined boundaries in the semiconductor substrate.

Tejasvi Das
Associate Professor of Electrical Engineering.
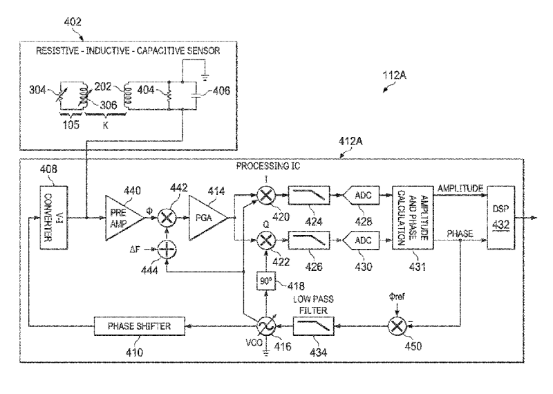
Patent №: 12442683 – Single-capacitor inductive sense systems.

A system includes an array of sensor elements with passive reactive components, a driver, and control circuitry that enables one sensor at a time to operate as a resonant sensor.

Tim Tri Hoang
Hardware Architect at Intel Corporation.

Embodiments describe an on-cavity photonic integrated circuit (OCPIC) with a laser transmitter and a micro-ring resonator positioned above a cavity whose diameter matches the spacing between two bumps.

Gadi Amit
President / Principal designer.
Patent №: 12443243 – Hybrid computing device, apparatus and system.

Embodiments describe a hybrid computing device with a display enclosure and a cover featuring integrated input and a flexible, pivoting seam.

Ali Kamen
Vice President @ Siemens Healthineers | AI for Healthcare.
Patent №: 12444054 – Localization and classification of abnormalities in medical images.

Systems and methods optimize deep learning models using multi-site training and deployment-specific optimization.