Centurion Patentors as of December 16, 2025

Scott Thomas Sheppard
Consultant at Semiconductor Process and Device Engineering.

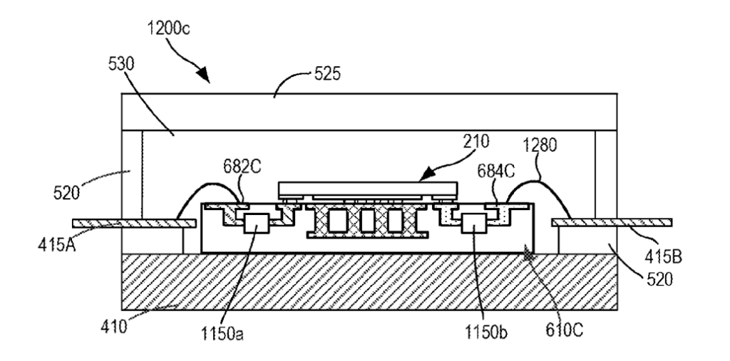
A transistor amplifier integrating an on-die circuitry module with passive components that couple the gate or drain terminals to the amplifier leads.

David M Garrison
Distinguished engineer, Technical Fellow.
Patent №: 12501125 – System and methods for determining proximity relative to an anatomical structure.

A laparoscopic system utilizing location sensors to detect instrument proximity to anatomical structures and trigger safety warnings.

Andreas Kunz
Senior Researcher at Lenovo.
Patent №: 12501386 – Factor for multiple device registrations.

A SIP session method that establishes connections by calculating a routing factor based on multiple concurrent device registrations for a single identity.

Guanghui Yu
Radio Expert with the Wireless Algorithm Department, ZTE Corporation, Shenzhen, China.
Patent №: 12501453 – System message transmission method and device.

A wireless communication method utilizing system messages transmitted at preset resource locations to configure and enable subsequent physical downlink channel transmissions.