Centurion Patentors as of October 7, 2025

Nathan Thomas Sargent
Entrepreneur, Engineer.
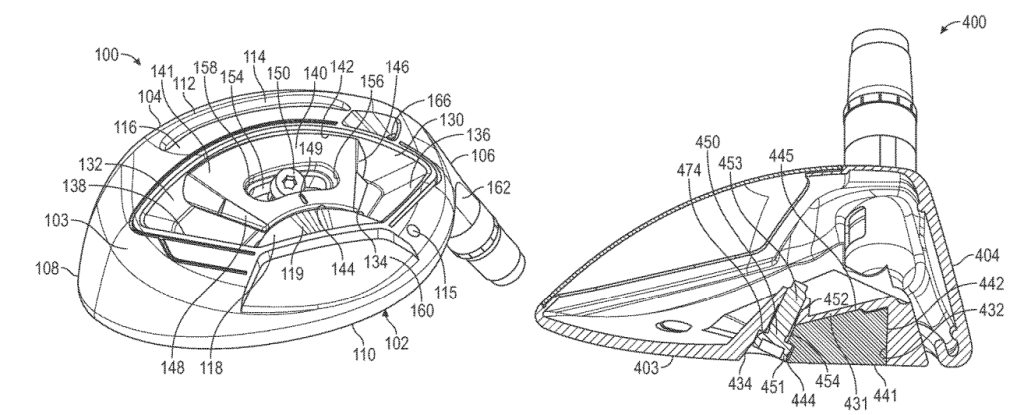
Patent №: 12434113 – Golf club heads.

A golf club head with an adjustable weight system includes a channel in the sole, a movable weight member secured by a fixed-position fastener, and optional mass elements to fine-tune the club’s balance and performance.

Raymond G Beausoleil
Senior Fellow and Senior Vice President at Hewlett Packard Enterprise.
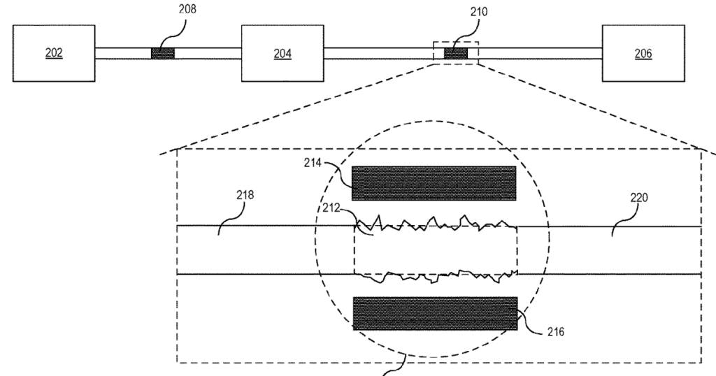
Patent №: 12436338 – Hitless optical power monitor.

A method for fabricating a photonic integrated circuit with an embedded optical power monitor by introducing controlled edge roughness in the waveguide pattern to generate detectable free carriers during operation.

Xipeng Zhu
6G R&D at Apple.

A wireless communication method in which a user equipment and base station perform MDT, QoS, and QoE measurements based on configured triggers, such as application activity or network conditions, and adjust reporting using factors like network slice, location, and time.

Qianxi Lu
Senior Standardization Engineer at OPPO.

A method where control and data resources are allocated within a shared time domain for transmitting PSSCH and associated sidelink control information.

William A Sorrentino, Iii
Senior Director,  Design Team.

Patent №: D1096803 – Display screen or portion thereof with graphical user interface.

Nathan R Vandike
Staff Engineer at John Deere.
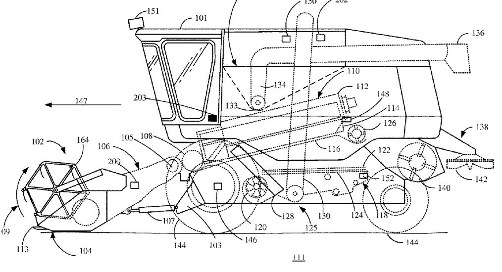
Patent №: 12433194 – Systems and methods for predictive harvesting logistics.

An agricultural harvesting system with a logistics module that uses crop characteristic maps and thresholds to determine optimal crop mixtures and generate routes for harvesters or receiving machines.
 
																					