Centurion Patentors as of November 25, 2025
Welcome to November 25, 2025. This week, we aim to celebrate the centurion patentors who have reached noteworthy milestones in their fields.

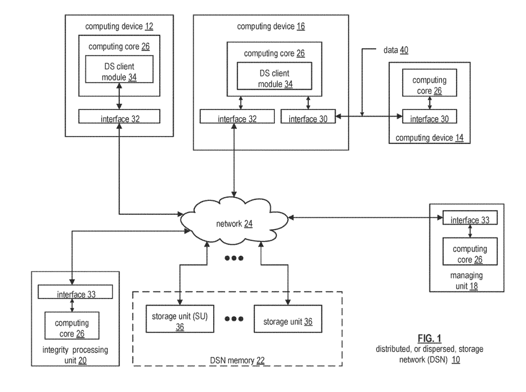
Greg R Dhuse
Distinguished Engineer at Ocient.
Patent №: 12481559 – Data recovery in a distributed storage network.

A computing device connects to a storage network and manages stored data. When it detects a storage error, it checks how many data slices are available. If enough slices exist, it rebuilds the data. If not, it starts a recovery process.

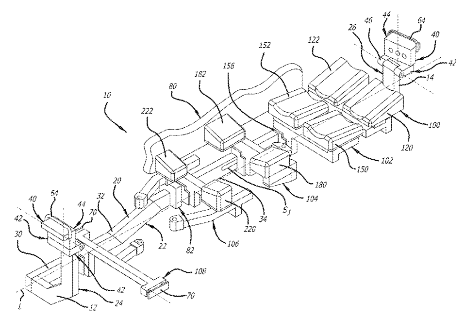
Roger P Jackson
Owner, Spine & Scoliosis Surgery, Inc.
Patent №: 12478537 – Frame and patient support, and surgical methods using same.

A frame and patient support system is provided for use before, during, and after surgery. It helps position and stabilize the patient, especially for spine procedures. The system can rotate around an axis and includes supports for the lower legs, upper legs, pelvis, torso, head, and arms.

Gordon M Platto
Design Director, Ford Brand Car and CUV at Ford Motor Company.

Patent №: D1103030 – Vehicle front bumper cover insert.


Leo John Grady
Founder and CEO of Jona.

A system evaluates vascular disease by using patient data to create a vessel model, simulating shape changes, calculating blood flow, and displaying how those changes affect the flow.

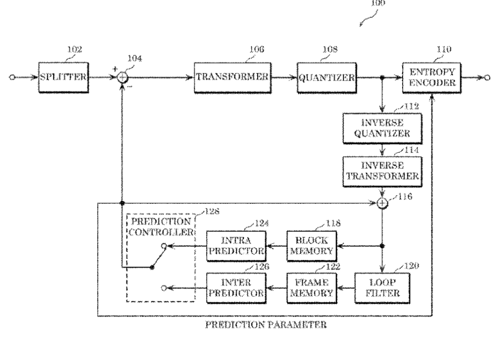
Ryuichi Kanoh
Sakana AI – Applied Research Engineer.
Patent №: 12483720 – Image encoder and related non-transitory computer readable medium for image decoding.

An encoder computes pixel values for two partitions using two motion vectors, then blends them. If the block is too wide or too tall, the encoder disables this process.