Centurion Patentors as of December 9, 2025

Prasanna Velagapudi
CTO at Agility Robotics.
Patent №: 12492036 – Systems and methods for providing shipping of orders in an order fulfillment center.

The design secures items during fulfillment by using a textured base to minimize movement and collapsible sides that automatically conform to the package shape when wrapped.

Chonggang Wang
Founding EiC of IEEE IoT Journal, EiC of IEEE Network Magazine, A-EiC of IEEE Transactions on Big Data.
Patent №: 12495099 – Service layer message templates in a communications network.

To reduce communication overhead, the system pre-loads common data structures on the server side. The client initiates these complex transactions by sending a lightweight reference ID rather than re-transmitting the entire dataset every time.

Sharad Deepak Sambhwani
Communication Systems Engineer.
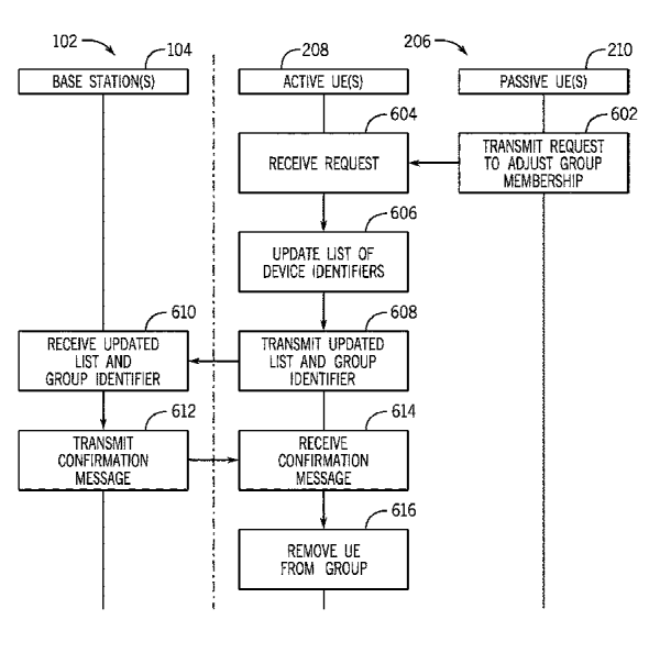
Patent №: 12495277 – Unified operation for user equipment groups.

A local network distinguishes between “connected” nodes and “isolated” nodes. While connected nodes bridge the gap between the external network and local peers, isolated nodes communicate exclusively through direct peer-to-peer links without an external network uplink.

Todd J Mortier
Chief Operating Officer at Arcos Interventional, Inc..
Patent №: 12491068 – Two stage anchor and mitral valve assembly.

The disclosure outlines systems for medical interventional procedures, specifically focusing on a modular approach to mitral valve implantation and therapy.

Rod W Shampine
SLB New Energy (SNE) Technology Advisor.
Patent №: 12491476 – Method of recovering lithium from a lithium source.

This process extracts target minerals from low-concentration fluids by coupling an initial extraction phase with a multi-stage filtration system. The filtration steps progressively concentrate the mineral output while recovering purified water that can be reused within the system.

Weiming Ren
Renowned expert and authority in the field of electron optics at ASML.
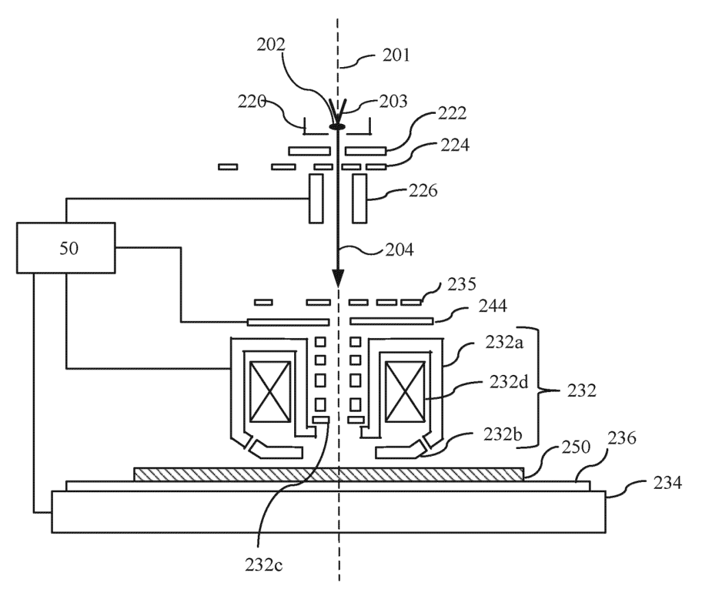
Patent №: 12493006 – Systems and methods for signal electron detection.

A PIN-based electron detector featuring a non-depleted surface layer that functions as an energy filter to selectively block unwanted signal electrons.