Centurion Patentors as of December 9, 2025
Welcome to December 9, 2025. This week, we aim to celebrate the centurion patentors who have reached noteworthy milestones in their fields.

Tingfang Ji
Global Head of 6G Research at Qualcomm.
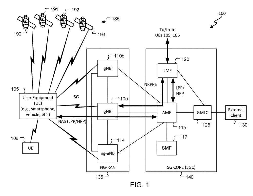
Patent №: 12494880 – Positioning reference signal processing.

A user equipment (UE) prioritizes incoming Positioning Reference Signal (PRS) groups. If the total processing load exceeds the device’s hardware capability, it selectively processes only the high-priority groups to determine location.

Krishna Kiran Mukkavilli
Sr. Director, Engineering at Qualcomm Wireless Research.
Patent №: 12495438 – NR-light random access response repetition.

A wireless device selects transmission slots and a preamble sequence based on a required signal repetition factor. It subsequently listens for response messages that are configured to match that same repetition level to complete the connection.

Weidong Yang
Standards Engineer at Apple.
Patent №: 12495435 – Inter-UE communication coordination and collision response.

The system improves direct device-to-device communication by optimizing how devices sense the environment and coordinate shared resources. Furthermore, it establishes protocols for handling data conflicts, including how devices signal collision warnings and select specific resources for recovery after a collision occurs.

Patrick Soon-Shiong
Surgeon, scientist, inventor, and philanthropist.
He serves as Chairman and Chief Executive Officer of NantWorks, an ecosystem of companies with developments in a wide variety of complex industries, from medical science to biomaterials, from data transport to AI and from communications to mobility.
Patent №: 12494816 – Sixty gigahertz wireless communication systems.

The system describes a wireless fronthaul architecture connecting a Distributed Unit (DU) to a Radio Unit (RU). Instead of physical cabling, the link utilizes paired System-on-Chip (SoC) devices to transmit signals between the DU and the RU at frequencies of at least 60 GHz.

Sai-Hooi Yeong
Semiconductor Technology Director – PhD.
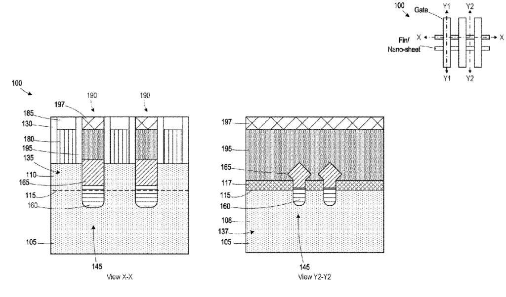
Patent №: 12495583 – Semiconductor arrangement and method of manufacture.

The method creates a fin with a gate structure, then etches the adjacent fin and substrate to form a recess. This void is filled sequentially: first with a stress-inducing material, and then with a distinct semiconductor material.

Arjan Koot
Breeding Manager at Dümmen Orange.
Patent №: PP37141 – plant named ‘DOCALRAIPIPEPBE25’.

The ‘Docalraipipepbe25’ cultivar acts as a vigorous, mounding plant that matures into a trailing form. It is characterized by early branching and large, distinct flowers featuring bright yellow petals with purplish-red margins.