Centurion Patentors as of December 2, 2025

Mark Edward Thompson
University Professor of Chemistry, Chemical Engineering, and Materials Science at USC, where he holds the Ray R. Irani Chair of Chemistry. He received his B.S. in Chemistry from UC Berkeley and his Ph.D. in Inorganic Chemistry from Caltech.
Patent №: 12486288 – Fast phosphors utilizing HP2H ligands.

A compound is disclosed with triplet sublevels whose energy spread (ZFS) exceeds the gap between the singlet state and the lowest triplet level, and certain Formula I versions can serve as luminescent materials for OLEDs.


Tiffany Florence
Mary Kay Beauty Consultant.
Patent №: 12485080 – Cosmetic compositions.

Disclosed are cosmetic compositions using stem cells, specific peptides or extracts to reduce hyaluronidase activity, boost hyaluronic acid, and increase fibronectin and laminin, delivered in a dermatologically acceptable vehicle.

Kitae Park
Corporate Vice President at Samsung Electronics America.
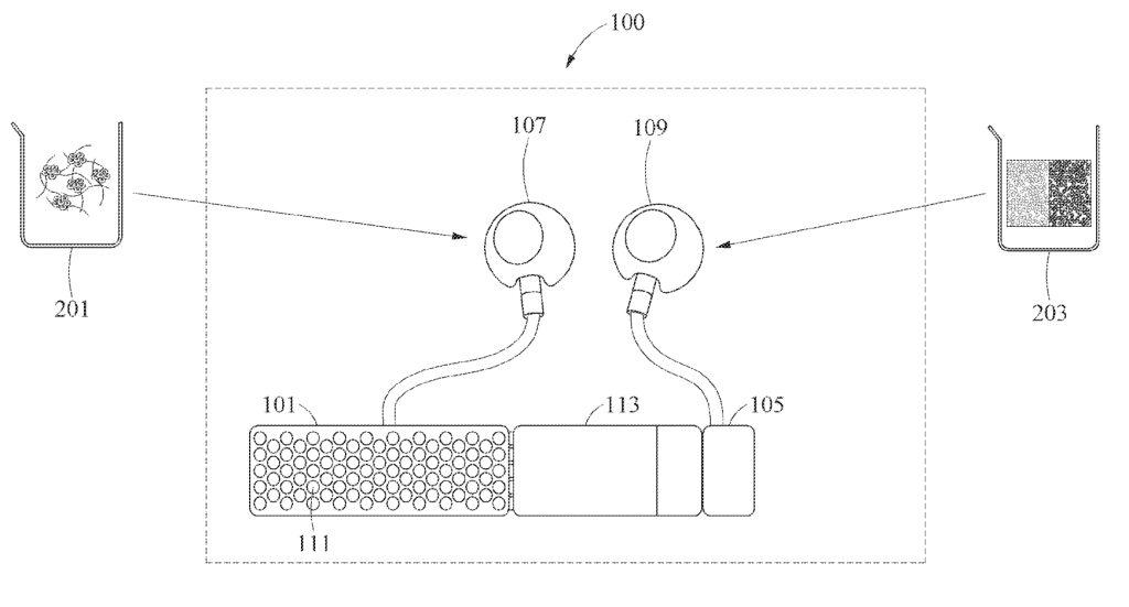
Patent №: 12485274 – Apparatus and method with electrical stimulus.

An electrical stimulation apparatus includes a container holding a secreting cell cluster, an indicator container, and a controller that applies voltage based on indicator feedback, with separate access points for replacing the cell cluster and the indicator.

Ting Lu
Senior Telecommunication Engineer.
Patent №: 12489539 – Message sending methods and devices, and target cell selecting methods and devices.

The technology describes methods and devices for message sending and target-cell selection, where a first message sent to a UE includes clock information or clock-accuracy details such as synchronization granularity, invalid-bit count, or an indication of precise clock-sync support.

Junjiang Fu
Professor and Director of the Research Center for Preclinical Medicine at Southwest Medical University.
Patent №: 12490008 – Headphones.

A headphone includes a support assembly and a core module with a housing, transducer, and vibration panel that sends the transducer’s mechanical vibrations to the user.
