Centurion Patentors as of October 28, 2025

Thomas E Kaib
ZOLL Medical, Retired.
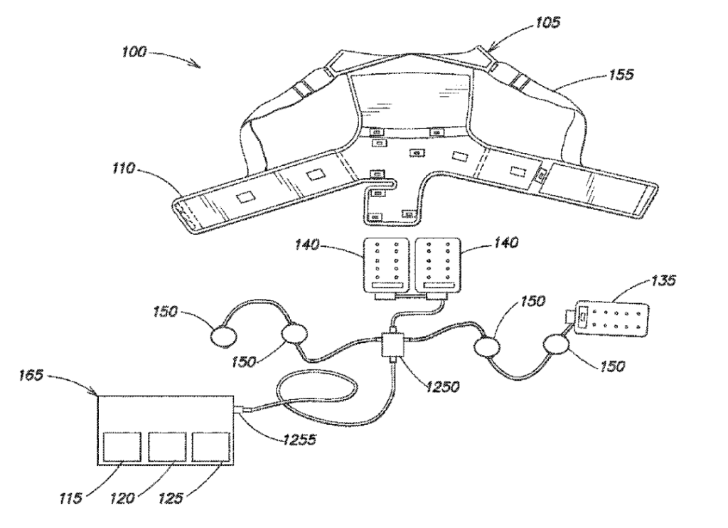
Patent №: 12453851 – Systems and methods for conductive gel deployment.

A wearable cardiac therapy system includes garment-based electrodes, a gel-dispensing mechanism, and a controller that detects arrhythmias, releases conductive gel, and delivers therapeutic shocks to the heart.


David William Kleinbeck
Senior Technology Leader; inventor, scientist, engineer with a solid record of building world class teams. Accomplished inventor in Aerospace, Telecom, AI/ML, and geo-space.
Patent №: 12456380 – Unmanned vehicle recognition and threat management.

Systems and methods use multiple receivers and AI-powered node devices to detect, classify, and locate unmanned aerial vehicles by processing RF signals and determining their direction of origin.

Alexander Giladi
Fellow at Comcast.

Client devices in a content delivery network can send content requests with parameters like buffer space or starvation time, allowing upstream devices to prioritize delivery and prevent playback issues.

Jacob H Whitta
Certified Business Intermediary & Owner at Transworld Business Advisors of Northwest Ohio.

Patent №: D1100398 – Handle arm for storage bucket.

