Centurion Patentors as of October 28, 2025

Jin Soo Choi
Senior member of engineering staff in Electronics and Telecommunications Research Institute (ETRI), Korea.
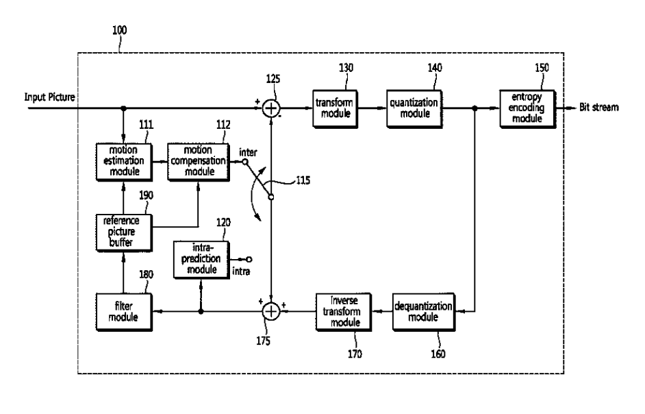
Patent №: 12457338 – Method and device for encoding/decoding images.

A method and device for image encoding/decoding are disclosed, wherein a scan type for a residual signal is determined based on whether a block is a transform skip block, and the selected scan type is applied accordingly.


John N Border
Leader and subject matter expert in the fields of displays, plastic optics manufacturing, camera systems and image sensors.
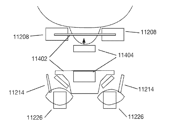
Patent №: 12455630 – See-through computer display systems.

Aspects of the invention relate to see-through display optics for wearable head devices featuring optical modules, a processor, and a heat sink. The processor sits closer to the user’s head, while the heat sink—thermally coupled to it—is positioned farther away to manage heat efficiently.

Mark D Siminoff
Seasoned product development executive with exceptional success in defining, designing, and delivering electro-mechanical products, including: IoT devices, cameras, consumer electronics, medical devices, and consumables.

Patent №: D1100304 – Wall light.

Patent №: D1099733 – Solar-charging mounting bracket.

Patent №: D1099732 – Contact sensor.

Arjan Koot
Breeding Manager at Dümmen Orange.
Patent №: PP37075 – plant named ‘Docalalhoco 25’.

A new plant cultivar, ‘Docalalhoco 25,’ features an upright to spreading, mounding habit that becomes trailing with growth. It has vigorous, freely branching growth, early abundant blooms with large yellow flowers marked by reddish-brown centers and red veins, and strong garden and container performance.

 
																					