Centurion Patentors as of October 21, 2025

Hendrik Albert Weeber
Research Fellow at Johnson & Johnson Vision.

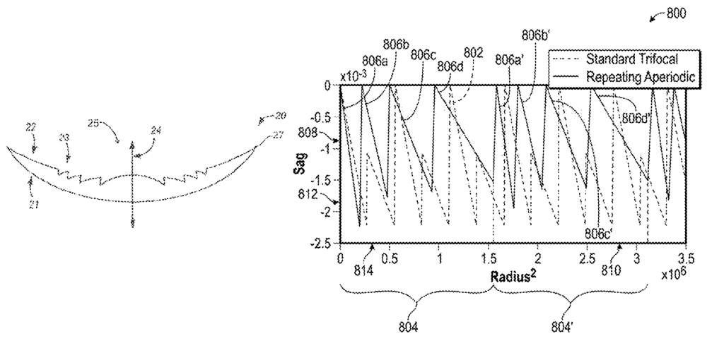
An ophthalmic lens, such as an intraocular lens (IOL), includes a diffractive optic with repeating sets of echelettes. Each echelette in a set has a distinct width in r²-space, enhancing extended depth of focus for improved visual performance.

Robert D Turney
Control Systems Fellow, Johnson Controls Advanced Development Engineering Center.

A refrigerant charge controller uses machine learning to analyze HVAC usage data, estimate refrigerant levels, detect deficiencies, and trigger corrective actions when low refrigerant is identified.

Puneet Sharma
HPE Fellow & Vice President | Director, Networking and Distributed Systems Lab @Hewlett Packard Labs | IEEE Fellow.
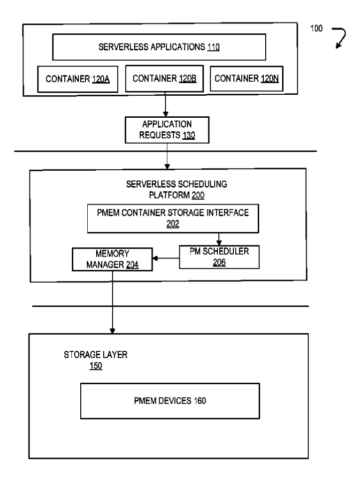
Patent №: 12449995 – Enabling persistent memory for serverless applications.

A scheduling platform for serverless applications uses a profiler to classify requests as persistent or non-persistent, batches persistent read/write requests, and schedules them across persistent memory banks to optimize job completion time.

Ravi Agarwal
R&D Systems Engineer.
Patent №: 12452780 – Fast slicing switching via SCG suspension or activation.

A method supports network slicing using master cell group (MCG) and secondary cell group (SCG) configurations. A device registers with two network slices of different priorities—one served by the MCG and the other by the SCG—and manages each with separate inactivity timers.

Tae-Jin Lee
Assistant Vice President at ETRI.
Patent №: 12452414 – Method, apparatus and storage medium for image encoding/decoding using filtering.

A method and apparatus for image encoding and decoding use classification-based filtering. Each image block is assigned a classification index based on coding parameters of the block and its neighbors, determining which filter to apply from multiple available filters.

Matthew J Bernett
Executive Director of Protein and Antibody Engineering at Xencor.
Patent №: 12448423 – Targeted heterodimeric Fc fusion proteins containing NKG2D antigen binding domains.

The invention relates to targeted heterodimeric Fc fusion proteins combining an IL-15/IL-15Rα Fc fusion with an NKG2D antigen-binding domain Fc fusion for enhanced therapeutic activity.