Centurion Patentors as of October 21, 2025

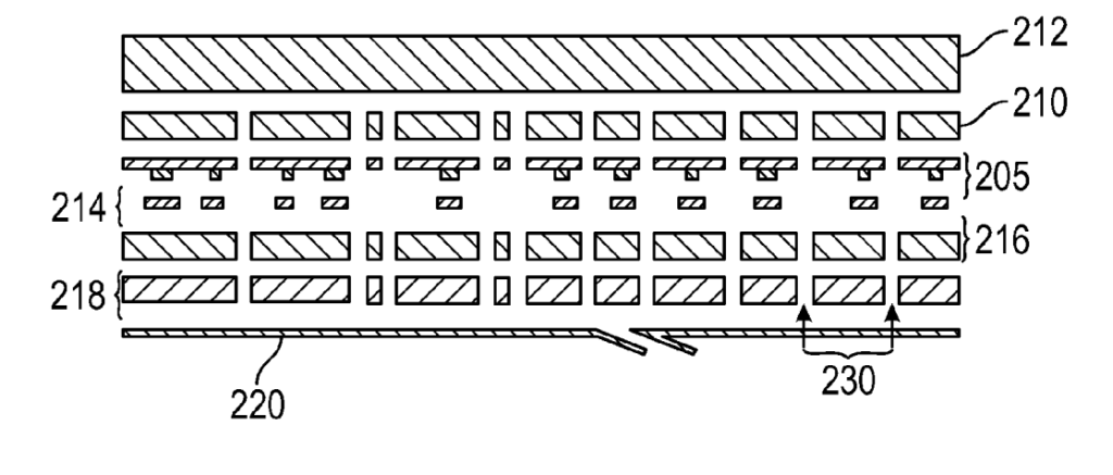
Edward Yerbury Hartwell
Director of Intellectual Property Rights at Smith & Nephew Wound Management.
Patent №: 12447259 – Sensor integrated dressings and systems.

A wound dressing includes a flexible substrate with electronic components, a wicking layer for fluid transfer, non-stretchable and stretchable coatings, a wound contact layer for adhesion, and a removable protective layer. A corresponding manufacturing method is also provided.

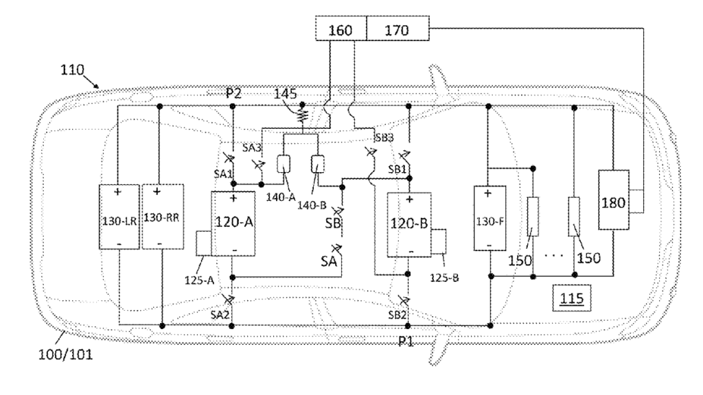
Chunhao J Lee
Technical Fellow at General Motors.
Patent №: 12451706 – Multi-voltage vehicle operation.

A system for electric or hybrid vehicles uses multiple battery packs controlled by a controller that switches between operational modes. The modes define how the packs connect to the motors—either in series or in parallel—based on driving conditions.

Nicholas Joseph Kray
Consulting Engineer – Composites at General Electric Aviation.
Patent №: 12448892 – Composite airfoil assembly having a composite airfoil and spar.

A composite airfoil assembly includes a composite airfoil with an outer wall and skin, a spar with a stem, base, and transition section, and a wrap. The outer wall extends from root to tip and defines an interior space.

Jason Richard Hoover
AVP Product Engineering.
Patent №: 12449500 – Automated system for vehicle tracking.

Systems and methods enable vehicle tracking by detecting a physical marker at a parking space. The vehicle captures and processes an image of the marker to determine and display its location.

Michael F Angelo
Distinguished Technologist – CRISC CISSP CDPSE, ISSA Hall of Fame, ISSA Distinguished Fellow.
Patent №: 12446951 – Laparoscopic and open surgery end effector jaw structure and method.

A surgical instrument includes paired metal jaws that can deliver both heat and radiofrequency (RF) energy. Each jaw has a microwave emitter that converts microwave energy to heat for sealing or coagulating tissue and electrodes for applying RF energy to cut tissue.

Gennady I Kleyman
Principal Design Engineer at Pathy Medical, LLC.
Patent №: 12446951 – Laparoscopic and open surgery end effector jaw structure and method.

A surgical instrument includes two movable metal jaws that deliver both microwave and radiofrequency (RF) energy. The jaws seal, weld, or coagulate tissue using heat from a microwave emitter and can cut tissue using RF electrodes integrated into the jaw ends.