Centurion Patentors as of October 14, 2025

Haijing Hu
Wireless Standards, Apple.
Patent №: 12445981 – Uplink timing synchronization maintenance in secondary cell group.

Aspects describe managing secondary cell group (SCG) addition, where a wireless device maintains and reuses timing advance parameters based on signal quality measurements and thresholds.

Sangsoo Jeong
5G and 5G-Advanced technology development and standardizations, Samsung Electronics, Suwon, South Korea.
Patent №: 12445895 – Device and method for supporting quality of service in wireless communication system.

A 5G or pre-5G base station method includes sending a message to another base station indicating support for alternative QoS profiles or QoS flow establishment queue functions.

Gregory Piskun
Entrepreneur, Investor, Artificial Intelligence, Medical Devices, Animal Welfare.
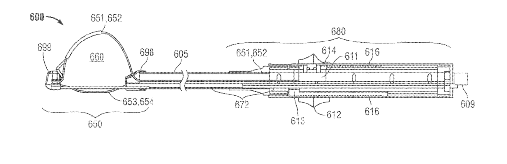
Patent №: 12440089 – Endoluminal device with retractor system.

Improved endoscopic surgical systems feature a reversible, expandable retractor that creates a stable, asymmetric workspace, enabling independent tool and endoscope movement for minimally invasive treatment.

Lilip Lau
Senior Vice President, Research and Development at Imperative Care.
Patent №: 12440289 – Method of priming an interventional device assembly.

A method primes an interventional device assembly by moving inner and outer devices while flushing fluid through the lumen to remove microbubbles.

Jared Oehring
Vice President, Industrial Service Solutions | Industry 4.0 & IIoT Innovator | Driving Electrification, AI, and Predictive Tech for Industrial Transformation.
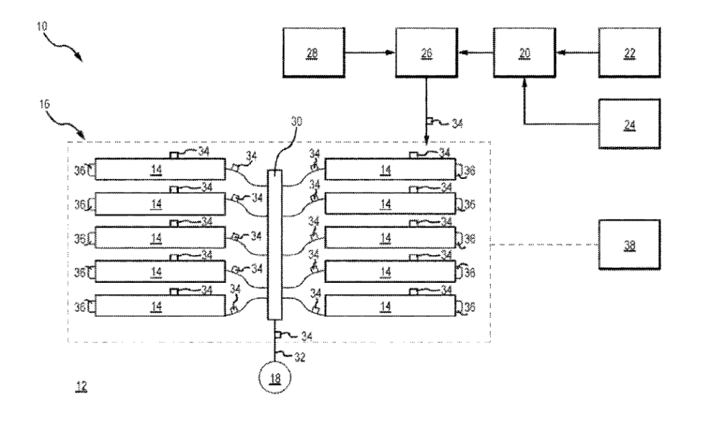
Patent №: 12442281 – Smart fracturing system and method.

A hydraulic fracturing system with multiple pumps, sensors, and a control system monitors parameters and automatically adjusts pump and fluid distribution operations.