Centurion Patentors as of October 14, 2025
Welcome to October 14, 2025. This week, we aim to celebrate the centurion patentors who have reached noteworthy milestones in their fields.

Jonathan P Ive
British-American designer. He is best known for his work at Apple Inc., where he was senior vice president of industrial design and chief design officer.
Ive is the founder of LoveFrom, a creative collective that works with Ferrari, Airbnb and OpenAI.

Patent №: D1098109 – Head-mounted display.

Patent №: D1098108 – Electronic device.

Patent №: D1098104 – Electronic device.

Peter S Gaal
Vice President and Qualcomm Fellow.
Patent №: 12446052 – HARQ feedback reporting for cross-carrier scheduling.

Aspects relate to wireless communication where a base station transmits multiple PDCCHs and PDSCHs across cells, each PDCCH scheduling a PDSCH using a counter index based on symbol, cell, and monitoring occasion.

Clement Tissandier
Industrial Designer.

Patent №: D1098109 – Head-mounted display.

Patent №: D1098108 – Electronic device.

Eric Martin Zavesky
Head of AI, Founder, Ex-ATT | Explainable GenAI + Human Intelligence.
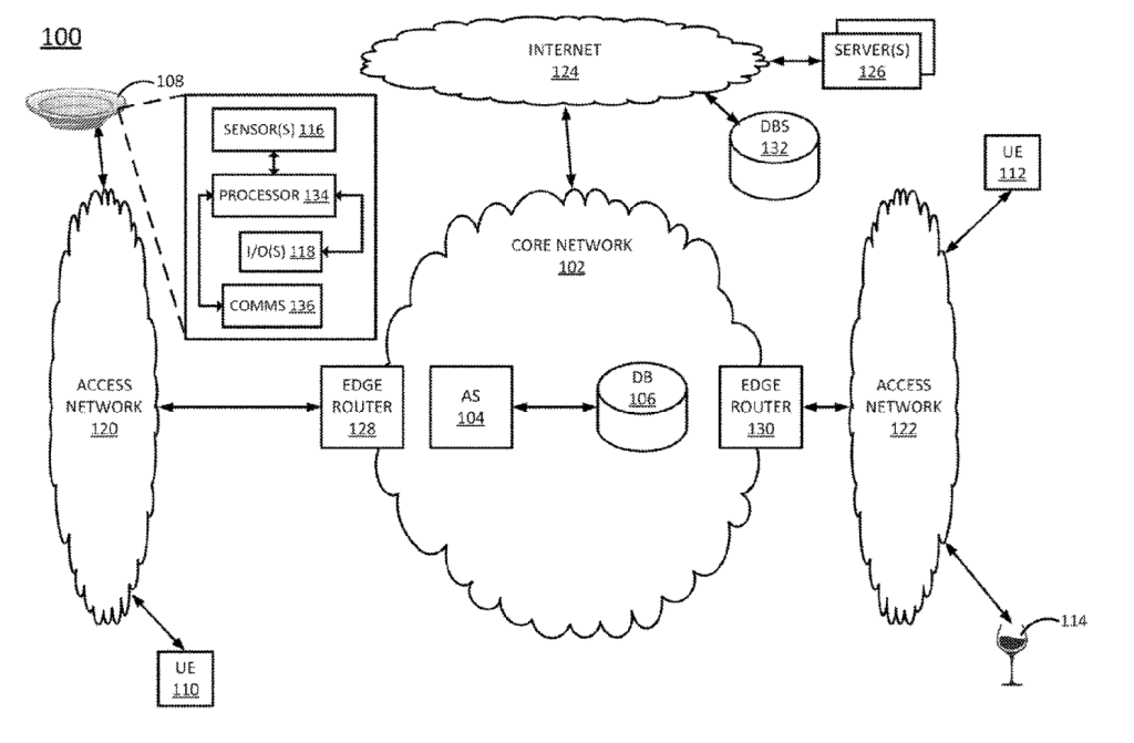
Patent №: 12444005 – Internet of things-enabled dinnerware to enhance food service operations.

Systems use IoT-enabled dinnerware to track food preparation and consumption, sending feedback to the food preparer based on real-time dining data.

Ron Diamant
VP/Distinguished Engineer @AWS.
Patent №: 12443823 – Neural network processing based on subgraph recognitio.

Systems and methods provide executable instructions to a neural network processor by matching or generating subgraph-specific instructions from a database for efficient model execution.