Centurion Patentors as of December 2, 2025
Welcome to December 2, 2025. This week, we aim to celebrate the centurion patentors who have reached noteworthy milestones in their fields.

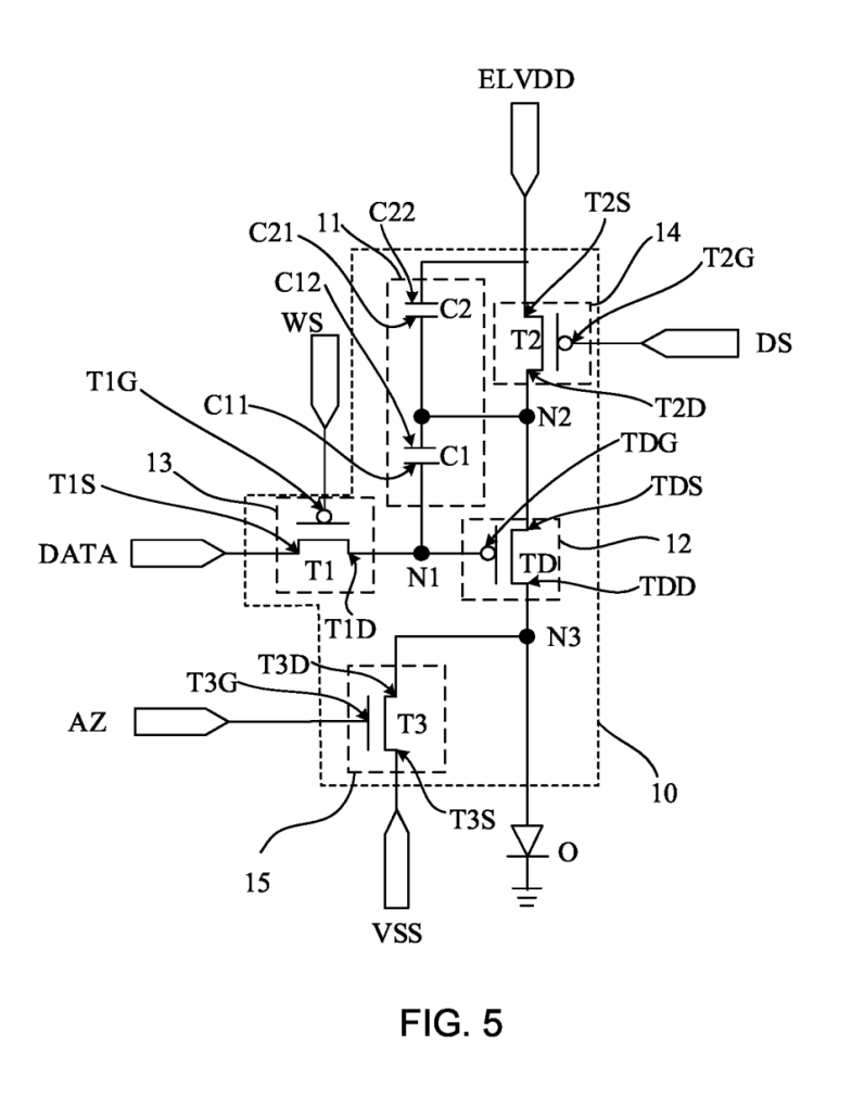
Xiaochuan Chen
LED on Silicon Leader, BOE.
Patent №: 12488749 – Display substrate and display apparatus.

A display substrate uses pixel circuits with two storage capacitors and a driving unit that outputs current to the light-emitting device, with capacitor plates overlapping vertically.

Fardin Abdi Taghi Abad
Principal Scientist at Amazon AGI Labs.
Patent №: 12488350 – Advanced data collection using browser extension application for internet security.

A browser extension monitors webpage types and user inputs, sends this data to a server to assess hacking risk, and, based on the server’s signal, can warn the user, redirect them, or log them out.

Ahmed Attia Abotabl
Senior Staff Engineer at Qualcomm.
Patent №: 12490198 – Downlink power control in wireless communications.

The disclosure describes reference signal setups with power-control offsets for multiple cells, where a network entity receives configurations specifying these offsets for both a first and a second cell.

Ting Wang
Researcher at NEC Labs America.
Patent №: 12489661 – Spatially multiplexed acoustic modem.

A radio-controlled acoustic modem for DFOS systems receives wireless configuration updates, adjusts its operation, and sends sensor-encoded acoustic signals into the fiber, using multiple vibrators for spatially multiplexed output.

Edward H Cully
New Ventures at W. L. Gore & Associates.
Patent №: 12485203 – Puncturable and resealable graft.

Implantable AV grafts are described with three layers—ePTFE, a self-sealing elastomer, and ePTFE—that reseal needle punctures and reduce leakage; the graft is everted after manufacture to place the elastomer layer under circumferential compression.