Centurion Patentors as of December 16, 2025

Mehdi Asnaashari
Chief System Architect at Crossbar Inc.

A secure microcontroller using multi-mode two-terminal memory (OTP/PUF/Rewritable) with optimized, table-based access control.

Bhuvana Ramabhadran
Principal Research Scientist, Director, Google DeepMind IEEE, ISCA Fellow.

Selecting speech segments to mask based on recognition confidence scores.

Danilo Caraccio
Distinguished Member of Technical Staff at Micron Technology.
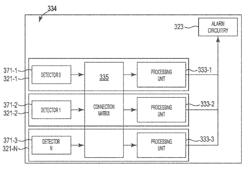
Patent №: 12499956 – Glitch detection.

A cross-processor glitch detection method that routes memory error notifications via a connection matrix to a secondary unit for confirmation.

Todd W Johnson
Leader | Product Innovator | Team Builder | Engineering | Front End Innovation | New Product Development | Program Management.
Patent №: 12500440 – Vehicle for transporting and charging outdoor power equipment.

A trailer-integrated docking station that utilizes a primary battery pack to recharge the battery of docked power equipment.